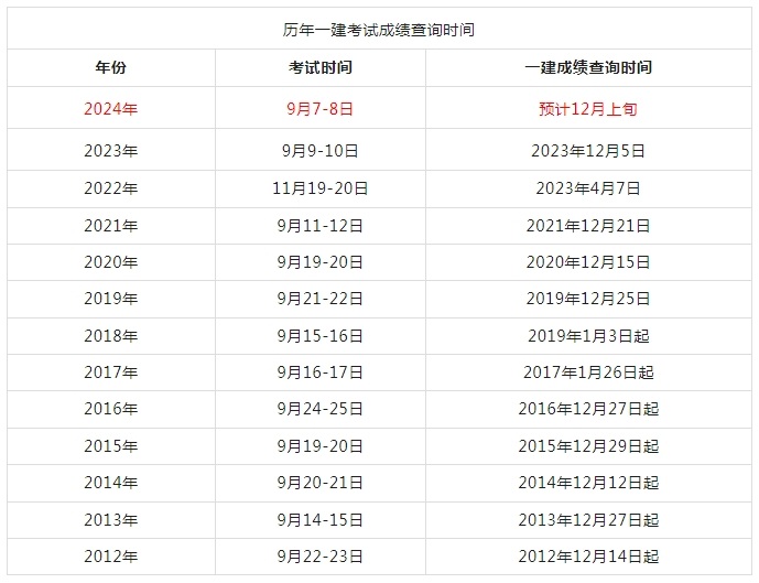
根据各地2024年一级建造师考务通知可知:2024年一级建造师考试成绩计划在2024年12月上旬发布(小编大胆预测在12月6号或10号),考生可登录中国人事考试网进行成绩查询。

一级建造师成绩滚动管理
一级建造师资格考试成绩实行滚动管理,报考级别为“考全科”的人员,须在连续2个考试年度内通过全部4个应试科目。
报考级别为“免二科”的人员,可免试《建设工程经济》和《建设工程项目管理》2个科目,只参加《建设工程法规及相关知识》和《专业工程管理与实务》2个科目的考试,须在1个考试年度内通过应试科目。
报考级别为“增报专业”的人员,须取得一级建造师资格证书后方可报名,须在1个考试年度内通过应试科目。
一级建造师成绩合格标准
一级建造师考试实行相对固定的合格标准,一建成绩合格标准为各科目总分的60%,具体如下:

以上是“2024年一级建造师考试成绩查询时间预测,速来了解”相关内容,希望能帮到大家。







